
本實用新型涉及一種蝶閥,具體涉及一種在閥板上安裝墊片的蝶閥,屬于蝶閥技術領域。
背景技術:
蝶閥是用圓盤式啟閉件往復回轉90°左右來開啟、關閉或調節介質流量的一種閥門。蝶閥不僅結構簡單、體積小、重量輕、材料耗用省、安裝尺寸小、驅動力矩小、操作簡便、迅速,并且還可以同時具有良好的流量調節功能和關閉密封特性,是近十幾年來發展最快的閥門品種之一。
由于開啟、關閉的方式來輸送流量,在開啟的狀態下,蝶閥中的閥板為打開狀態,但是氣體的沖擊力可能會使閥板來回晃動,更有可能導致關閉閥板,造成氣體輸送不順暢的問題。
技術實現要素:
本實用新型的目的是提供一種閥板不會晃動的高性能蝶閥,可以在開啟的狀態下順利輸送氣體。
為了達到上述技術目的,本實用新型的技術方案是提供了高性能蝶閥,包括閥體、閥座、閥板,所述閥體為環狀,所述閥體內套設有閥座,所述閥板通過閥桿活動的設于閥座內,所述閥板上設有鏤空的孔洞,所述閥板的一側設有墊片,所述墊片上設有與閥板對應的孔洞。
優選地,所述墊片活動的設置在閥板上,通過墊片把手在閥板上旋轉。
優選地,所述墊片上設有橡膠墊把手,所述閥體上設有與橡膠墊把手相對應的條狀孔,用于橡膠墊把手在該條狀孔內滑動,以達到閥板上的孔洞開啟和關閉的作用。
優選地,所述閥桿通過固定板設置在閥板的另一側。
優選地,所述墊片的材質為橡膠墊片。
優選地,所述閥體的上下設有掛耳。
優選地,所述閥桿上設有閥桿套,起到密封作用。
優選地,所述閥桿與手動轉盤相連。
本實用新型通過在閥板上設置貫穿的通孔,可以使氣流暢通無阻,也不會造成閥板的晃動,當關閉閥板上的墊片時,能起到良好的密封作用,墊片是活動的設置在閥板上的,所以開啟和關閉可以自由控制。本實用新型結構簡單,使用方便,不但在閥板關閉時放置了氣流的泄漏,也可以使閥板開啟時氣流更順暢,閥板也不會受氣流的波動而晃動。
附圖說明
圖1為本實用新型提供的高性能蝶閥提供的結構示意圖;
圖2為本實用新型提供的高性能蝶閥中閥體的結構示意圖;
圖3為本實用新型提供的高性能蝶閥中閥板的結構示意圖;
圖4為本實用新型提供的高性能蝶閥中閥板與橡膠墊連接的結構立體示意圖一;
圖5為本實用新型提供的高性能蝶閥中閥板與橡膠墊連接的結構立體示意圖二;
圖中序號為:
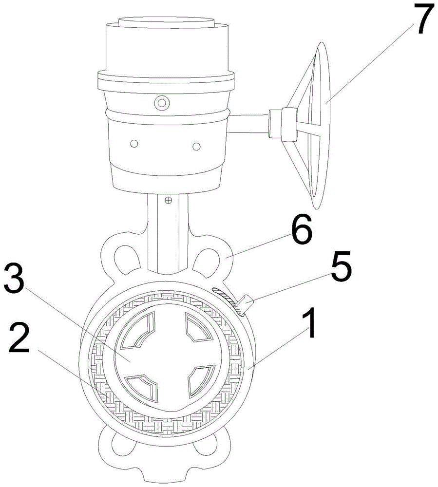
閥體1;閥座2;閥板3;固定板4;閥桿套4-1;橡膠墊把手5;橡膠墊5-1;掛耳6;手動轉盤7。
具體實施方式
為使本實用新型更明顯易懂,茲以優選實施例,并配合附圖作詳細說明如下。
圖1至圖5所示,為本實用新型提供的高性能蝶閥,包括閥體1、閥座2、閥板3;所述閥體1為環狀,所述閥體1內套設有閥座2,所述閥板3通過閥桿活動的設于閥座2內,所述閥板3上設有鏤空的孔洞,所述閥板3上的孔洞呈扇形分布在閥板的3的表面上,所述孔洞為貫穿孔,所述閥板3的一側設有橡膠材質的墊片5-1,所述墊片5-1活動的設置在閥板3上,并通過墊片把手5在閥板3上旋轉,所述墊片5-1上設有與閥板3對應的貫穿孔洞,閥體(1)上設有5條狀孔,所述墊片5-1從該條狀孔內露出,當需要打開閥板(3)時,通過橡膠墊把手(5)在閥體(1)上的條狀孔內滑動,從而使橡膠的墊片5-1在閥板3上活動,當墊片5-1閥板3上的孔洞一致時,用于氣流的穿透,不會使閥門3來回擺動,當墊片5-1閥板3上的孔洞不一致時,由于墊片5-1是橡膠的材質,墊片5-1能起到密封的作用,保證氣體不泄漏。
進一步,所述墊片5-1的材質為橡膠墊片;所述閥體1的上下設有掛耳6;所述閥桿通過固定板(4)設置在閥板(3)的另一側;閥桿上設有閥桿套4-1,起到密封作用;所述閥桿與手動轉盤7相連。
需要說明的是,在本文中,術語“包括”、“包含”或者其任何其他變體意在涵蓋非排他性的包含,從而使得包括一系列要素的過程、方法、物品或者設備不僅包括那些要素,而且還包括沒有明確列出的其他要素,或者是還包括為這種過程、方法、物品或者設備所固有的要素。
以上實施例僅用以說明本實用新型的技術方案,而非對其限制;盡管參照前述實施例對本實用新型進行了詳細的說明,本領域的普通技術人員應當理解:其依然可以對前述各實施例所記載的技術方案進行修改,或者對其中部分技術特征進行等同替換;而這些修改或者替換,并不使相應技術方案的本質脫離本實用新型各實施例技術方案的精神和范圍。