
本實用新型涉及閥體技術領域,尤其涉及一種蝶閥。
背景技術:
在工業流體管道系統中,蝶閥作為調節流體流量的設備而普遍應用。但是目前的蝶閥通常為單向密封,密封效果較差;另外,目前的蝶閥承受的壓力較低,進而導致壽命較短。
技術實現要素:
本實用新型的目的是提供一種蝶閥,以解決目前的蝶閥存在的密封效果較差及壓力較小的問題。
為了實現上述目的,本實用新型提供如下技術方案:
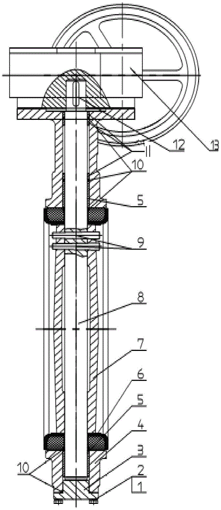
一種蝶閥,包括閥體、閥軸、閥座和閥板;其中,所述閥體設置有過流孔;所述閥座套設于所述過流孔的內壁;所述閥軸依次穿過閥體和所述閥座,且與所述閥板固定相連;所述閥板設置于所述過流孔,且與所述閥座密封配合;所述閥軸與所述閥體和所述閥座均轉動配合以驅動所述閥板對過流孔的通閉;所述閥體和所述閥板的材質均為球墨鑄鐵;所述閥座為彈性材質,且與所述閥板彈性貼合。
優選的,上述蝶閥中,所述閥軸的操作端設置有蝸輪蝸桿驅動機構;所述蝸輪蝸桿機構用于驅動所述閥軸轉動。
優選的,上述蝶閥中,所述閥軸的頂端與所述閥體及所述蝸輪蝸桿機構的外殼之間,以及所述閥軸的底端與所述閥體的之間均設置有襯套。
技術特征:
1.一種蝶閥,其特征在于,包括閥體、閥軸、閥座和閥板;其中,所述閥體設置有過流孔;所述閥座套設于所述過流孔的內壁;所述閥軸依次穿過閥座和所述閥座,且與所述閥板固定相連;所述閥板設置于所述過流孔,且與所述閥座密封配合;所述閥軸與所述閥體和所述閥座均轉動配合以驅動所述閥板對過流孔的通閉;所述閥體和所述閥板的材質均為球墨鑄鐵;所述閥座為彈性材質,且與所述閥板彈性貼合。
2.如權利要求1所述的蝶閥,其特征在于,所述閥軸的操作端設置有蝸輪蝸桿驅動機構;所述蝸輪蝸桿機構用于驅動所述閥軸轉動。
3.如權利要求2所述的蝶閥,其特征在于,所述閥軸的頂端與所述閥體及所述蝸輪蝸桿機構的外殼之間,以及所述閥軸的底端與所述閥體的之間均設置有襯套。
4.如權利要求1所述的蝶閥,其特征在于,所述閥板設置有連接腔,所述閥軸穿設于所述連接腔,且通過銷釘固定相連。
5.如權利要求1所述的蝶閥,其特征在于,所述過流孔的橫截面為圓形,所述閥板為圓盤狀。
6.如權利要求1所述的蝶閥,其特征在于,所述閥座由橡膠材質制成。
7.如權利要求1所述的蝶閥,其特征在于,所述閥板的表面具有鍍鎳層。
8.如權利要求1-7中任意一項所述的蝶閥,其特征在于,所述閥座的材質為丁晴橡膠或三元乙丙橡膠。